More than just a Source. A Solution. Made in USA with Pride Call Us Toll Free: 1.800.251.8351   I   Email
Allowable Vertical Load for AB Bolted Anchors
    Design Notes:
    Allowable loads are predicated on group II wood (SYP/DFL). Duration of load increases of 33-1/3% are included. Minimum end distance of 7 bolt diameters is required. Bolt holes are 1/16" larger than bolt diameter. Vertical members must be checked for net section reduction. Embedment assumes standard J-anchor bolt with 4d return. Embedment can also be met with L-bolt and 12d extension. Bottom plates (mud sills) must be checked for perpendicular-to-grain loading.

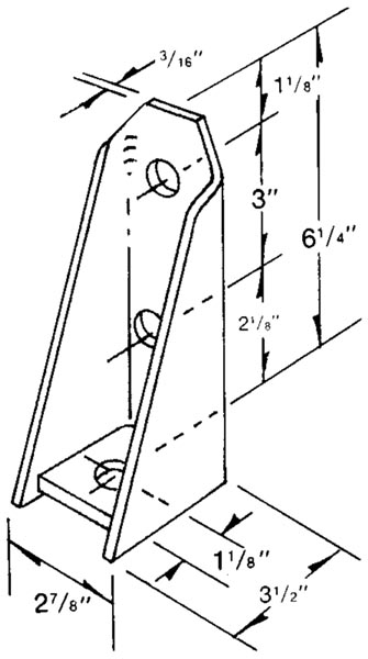
    Material : 7 gauge and 3 gauge.
    Finish : Black Copolymer Paint.
Unit of Measure

No. and Dia. of Bolts to Wood²

N/A (2) 3/4 M.B.

Bolt Dia. to Concrete

N/A 3/4 in

Suggested Min. Embedment³

N/A 8.5 in

Height

N/A 6 1/4 in

Thickness

N/A 3/16 in

Finish

N/A Black Copolymer Paint

Load @ 1 1/2 Thickness

N/A 2360 lbs

Load @ 2 1/2 Thickness

N/A 3841 lbs

Load @ 3 1/2 Thickness

N/A 4655 lbs