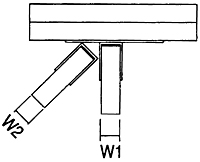
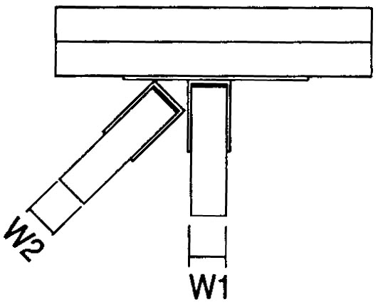
Girder Hangers are medium duty hangers for girder-to-girder applications.
Bolts are listed in fastener section of catalog.
Material : Back plates are made of 3-gauge A-36 steel, stirrup seats are made of 7-gauge A-36 steel.
Finish : Black copolymer paint.
Bolts are listed in fastener section of catalog.
Material : Back plates are made of 3-gauge A-36 steel, stirrup seats are made of 7-gauge A-36 steel.
Finish : Black copolymer paint.
Unit of Measure
W1 |
N/A 1 5/8 |
W2 |
N/A 1 5/8 |
H |
N/A 18 3/4 |
D |
N/A 3 1/2 |
Bolts |
N/A (4) 3/4 |
Nails |
N/A (8) 10d x 1 1/2 |
| Material1 | N/A A-36 Steel |
Finish |
N/A Black Copolymer Paint |
Load @ 1-Ply |
N/A 3405 |
Load @ 2-Ply |
N/A 6175 |
Load @ 3-Ply |
N/A 6600 |
Wind Uplift |
N/A 980 |
Load @ 1-Ply |
N/A 2730 |
Load @ 2-Ply |
N/A 4830 |
Load @ 3-Ply |
N/A 5880 |
Wind Uplift |
N/A 785 |
- 1 Back plates are made of 3-gauge A-36 steel, stirrup seats are made of 7-gauge A-36 steel.