More than just a Source. A Solution. Made in USA with Pride Call Us Toll Free: 1.800.251.8351   I   Email
Although Tees & Ells provide stiffness to joints, they should not be used as moment-resisting connectors, nor as substitutions for X and K bracing.
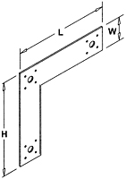
Unit of Measure

Gauge

N/A 14

H

N/A 12

L

N/A 12

W

N/A 2

Fastener - Bolts

N/A (3) 1/2

Fastener - Nail

N/A (12) 16d

Finish

N/A Galvanized G60