Pile Cap Connectors
Miscellaneous
Suggested Concrete Design Procedures
Analysis by the portland Cement association for the development of connector design value in pullout strength in concrete cap.
Analysis by the portland Cement association for the development of connector design value in pullout strength in concrete cap.
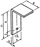
All bolt holes 15/16" diameter.
Custom connectors are available
Where only two plates are used, "bo" might be assumed to be equivalent to one half a full circumference, or some other fraction thereof. The quantity bo should be established through experience and engineering judgment.



